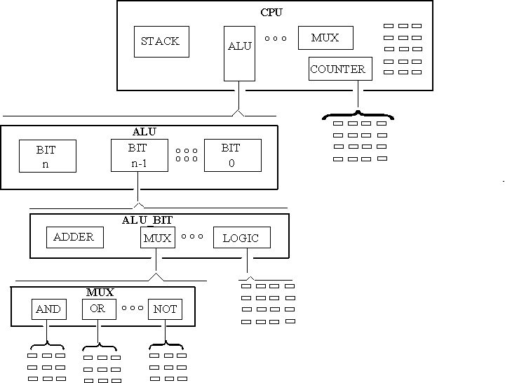
FIGURE 2. 1

Example for hierarchical partitioning.

 

 

 

 

FIGURE 2. 2

An example VHDL environment.